電話:0577-66996885
傳真:0577-66995778
手機:13353386068
Q Q:2219968630
網址:www.gzlczx.com
地址:浙江省永嘉縣甌北鎮三橋工業區
NL系列304不銹鋼泥漿泵產品簡介:
NL系列304不銹鋼泥漿泵系單級單吸立式離心泵,主要部件有蝸殼、葉輪、泵座、泵殼、支撐筒、電機座、電動機等組成。蝸殼、泵座、電機座、葉輪螺母是生鐵鑄造、耐腐性、耐腐蝕性較好,加工工藝方便。葉輪為三片單園弦彎葉,選用半封閉葉輪,并采用可鍛鑄鐵、所以強度高,耐腐蝕;加工方便,通過性好,效率高。為了減輕重量和減少車削量、泵軸是優質碳素鋼冷拉園鋼制造。泵座中裝有四只骨架油封和軸套,防止軸磨損,延長軸的使用壽命。NL系列泥漿泵可垂直或傾斜使用,占地面積小,蝸殼需埋在工作介質中工作,容易啟動,不需弓I水,旋轉方向應從電機尾部看是順時針方向工作。總機長度備有各種規格,以便使用單位根據用途因地制宜地選用。
NL系列304不銹鋼泥漿泵型號意義:
NL系列304不銹鋼泥漿泵主要用途:
1、NL系列多用液下泵系單級單吸離心泵,使用于礦山、造紙、印染、環保、石墨、云母、黃金、陶瓷、煉油、石油、化工、農場、鹽場、碘場、染化、釀酒、食品、化肥、焦化選廠、建筑、大理石廠、金礦、泥漿、流沙、泥塘、污塘、污濁液送吸濃漿稠液、裝料及懸浮物質的污水作業,也可作煤礦排水及含有泥塊的流體。
2、若與高壓水泵,水槍配合,組成水力機械化土方工程機組,就可用作于土地平整,河道與池塘的疏浚、鑿開等小型水利工程的挖方與輸方,以及城市的防空工程,以下工程。
3、養魚用作帶水清塘、魚池增氧等。
NL系列304不銹鋼泥漿泵結構圖:
|
|
序號 |
型式/另件名稱 |
NL,NLF,NW |
||
|
編號 |
數量 |
備注 |
|||
|
1 |
網罩 |
1 |
1 |
|
|
|
2 |
葉輪螺母 |
2 |
1 |
|
|
|
3 |
葉輪 |
3 |
1 |
|
|
|
4 |
泵殼 |
4 |
1 |
|
|
|
5 |
泵座 |
5 |
1 |
|
|
|
6 |
0型圈 |
6 |
1 |
改進型用機械密封 |
|
|
7 |
油封 |
7 |
4 |
改進型用機械密封 |
|
|
8 |
軸套 |
8 |
1 |
改進型用機械密封 |
|
|
9 |
出水彎頭 |
9 |
1 |
|
|
|
10 |
泵軸 |
10 |
1 |
|
|
|
11 |
軸承 |
11 |
2 |
|
|
|
12 |
從動聯軸器 |
12 |
1 |
|
|
|
13 |
主動聯軸器 |
13 |
1 |
|
|
|
14 |
聯接筒 |
14 |
1 |
|
|
|
15 |
軸承座 |
15 |
2 |
|
|
|
16 |
聯接軸 |
16 |
1 |
|
|
|
17 |
支撐筒 |
17 |
2 |
|
|
|
18 |
軸承蓋 |
18 |
1 |
|
|
|
19 |
從動聯軸器 |
19 |
1 |
|
|
|
20 |
電機座 |
20 |
1 |
|
|
|
21 |
電機座C |
21 |
1 |
帶固定板用 |
|
|
22 |
主動聯軸器 |
22 |
1 |
|
|
|
23 |
電動機 |
23 |
1 |
|
|
|
24 |
彈性塊 |
24 |
1 |
|
|
故障原因及排除方法:
|
現象 |
產生原因 |
排除方法 |
|
不 啟 動 與 運 轉 |
1、饋電線有斷路。 2、電壓太低。 3、兩個半聯軸器間無軸向間隙并卡死。 4、葉輪被雜物卡住。 5、葉輪與蝸殼緊貼。 6、螺帽脫落和平鍵損壞使葉輪打滑。 7、聯軸器平鍵損壞。 |
1、查看熔斷保險絲和接線,并更換之。 2、調高電壓或等電壓升高后再用。 3、調整兩個半聯軸器之間軸向間隙為0.5毫米。 4、排除雜物。 5、重新裝配,分離葉輪和蝸殼。 6、安裝平鍵與螺帽。 7、換裝平鍵。 |
|
超 負 荷 |
1、泵各部裝配不當,轉動困難,異物卡住。 2、同心度變動,軸承損壞,軸變形。 3、旋向相反。 4、揚程過低,流量過大。 |
1、重新裝配,取出異物。 2、修正零件,調換軸承。 3、變換電機旋向。 4、盡量避免長時間使用。 |
|
流 里 不 足 |
1、吸口被阻,泥潭糞坑欠深,泵吸不到泥糞。 2、輸泥管被阻。 3、電機轉速低于額定轉速。 4、葉輪打壞。 5、揚程過高,輸送過遠。 6、旅向相反。 7、泄漏較大。 8、葉輪上繞有雜物。 、 9、介質太稠或供應量不路。 |
1、排除吸口阻檔物,移動泵,使蝸殼全部埋入泥漿糞水中。 2、檢査管道,取出阻檔物。 3、提高電機轉速。 4、調換葉輪。 5、減少揚程,縮短輸送距離。 6、改換電機旋向。 7、檢查泄漏原因,并更換引起泄漏的另件。 8、排除雜物。 9、沖稀介質,增大供應量。 |
|
噪 聲 與 震 動 |
1、葉輪與蝸殼磨擦。 2、軸承已損壞或少油。 3、泵軸與電機不同心,軸彎曲。 4、螺帽有松動。 5、蝸殼中有雜物。 6、工作液中有硬物。 7、吸口有空氣滲入。 8、汲送液體溫度過高。 |
1. 檢查泵的裝配并調整之。 2. 調換軸承或加油。 3. 調同心,校正軸。 4. 擰緊螺帽。 5. 排除雜物。 6. 控制進泵雜物尺度,加密濾網。 7. 深埋蝸殼。 8. 降低液體溫度。 |
安裝示意圖:
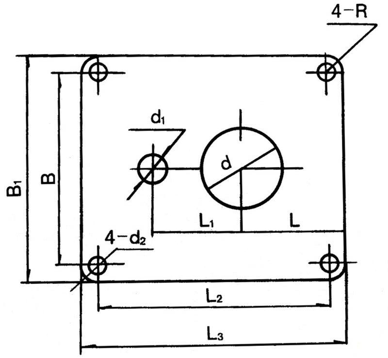
安裝盤尺寸圖:
|
型號/代號 |
L |
L1 |
L2 |
L3 |
B |
B1 |
d |
d1 |
4-d2 |
4-R |
δ |
|
NL25-10 |
180 |
120 |
350 |
400 |
280 |
330 |
72 |
40 |
13 |
25 |
6 |
|
NL50-8 |
255 |
230 |
590 |
650 |
490 |
550 |
215 |
70 |
18 |
30 |
8 |
|
NL80-9 NL50-12 NL76-9 |
255 |
230 |
590 |
650 |
490 |
550 |
258 |
80 70 70 |
18 |
30 |
10 |
|
NL65-16 NL80-12 NL50-24 |
255 |
285 |
690 |
750 |
590 |
650 |
175 |
70 110 70 |
18 |
30 |
12 |
|
NL100-16 NL100A-16 |
380 |
350 |
920 |
1000 |
820 |
900 |
226 |
115 70 |
18 |
40 |
14 |
泵長度規格:
|
型 號長 度 |
NL150-12 NL150A-12 NL150-16 NL150A-16 |
NL50-8 NL50A-8 NL50-12 NL50A-12 NL76-9 NL76A-9 |
NL65-16 NL165A-16 NL80-12 NL80A-12 |
NL100-16 NL100A-16 |
|
泵 長 度 L (毫米)
|
650 |
470 |
710 |
710 |
|
1300 |
1120 |
1190 |
1190 |
|
|
|
1620 |
1910 |
1940 |
|
|
/ |
2120 |
2410 |
2440 |
|
|
/ |
2620 |
3130 |
3190 |
|
|
/ |
3120 |
3630 |
3690 |
|
|
/ |
3620 |
4350 |
4440 |
|
|
/ |
4120 |
4850 |
4940 |
|
|
/ |
4620 |
5570 |
5690 |
|
|
/ |
5120 |
6070 |
6190 |
|
|
/ |
3620 |
/ |
/ |
安裝與拆卸:
(一)、拆卸
1、拆卸電鈄或面定板,出水管。
2、拆卸蝸殼和葉輪蝶每,輕擴葉輪背面,拆鍵葉輪。
3、拆凼從動半聯軸器,再拆卸鍵、然后把電機座拆卸,與支撐筒分離。
4、拆卸泵座與支撐筒螺栓,使其分幵。
5、從軸上拆卸軸套與軸承。
(二)、安裝
1、對所有零件進行檢査是否有缺損,所有紙墊兩面都要涂一層簿黃油,在軸承內加上三分之二黃油。
2、骨架油封必須注滿黃油后放入泵座,再裝上軸承。
3、軸套內裝上0型密封圈后涂上黃油。
4、把承裝在電機座上,放上紙墊,擋油圈,裝上軸與支撐筒用螺釘固定。
5、放上紙墊,裝上軸承、軸套、鍵、泵座和葉輪,旋緊葉輪螺母后用手旋轉葉輪,轉動靈活即可。
6、放上紙墊裝上泵殼,用螺釘固定并裝上濾網。然后再用手拔動葉輪,轉動靈活即可。
7、泵軸上裝上鍵和從動聯軸器,在電機軸上裝上鍵與主動聯軸器,然后將電機與電機座螺栓固定。裝好后要求與主動聯軸器與從動聯軸器之間軸向間隙應為1~1.5毫米。

